| Условное давление | 1,0 (10 кгс/см) МПА |
| Материал корпуса | Чугун GGG-40 |
Оплата только по безналичному расчету
Условия доставки обсуждайте с менеджером| Условное давление | 1,0 (10 кгс/см) МПА |
| Материал корпуса | Чугун GGG-40 |
| Материал изделия | EPDM, PTFE, AISI 420, А3, AISI 304 (08х18н10), GGG-40, ZChSnSb10-6, Латунь |
| Тип задвижки | Применяется для установки в качестве запорно-регулирующей арматуры на оборудовании или трубопроводах для перекрытия, регулирования потока рабочей среды |
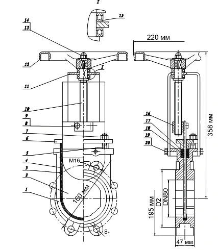
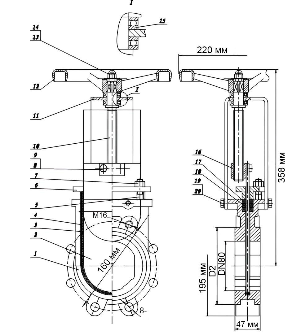
| Диаметр DN | 80 |
| Рабочая среда | Вода, фекальные, целлюлозно-бумажные стоки, химические вещества не агрессивные к материалам изделия |
| Температура рабочей среды (не более), °C | От 0°С до +80°С |
| Герметичность затвора (класс) | Двухторонняя герметичность, класс А по ГОСТ 9544-2005 (без протечек) в обоих направлениях |
| Привод | Ду50 – 400 Маховик, Ду500 – 1200 Редуктор |
