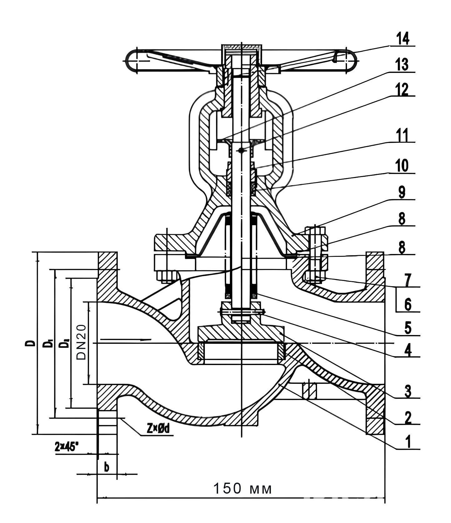
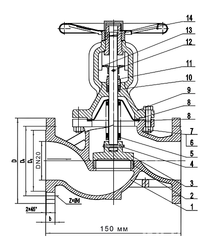
| Условное давление | 1,6 МПа |
| Хит продаж | Хит |
Оплата только по безналичному расчету
Условия доставки обсуждайте с менеджером| Условное давление | 1,6 МПа |
| Хит продаж | Хит |
| Материал корпуса | Чугун GG25 |
| Материал изделия | Нерж. сталь 2Х13/А105, чугун GG25, Q235, Ст.35, терморасширенный графит, Ст.45 |
| Диаметр DN | 20 |
| Рабочая среда | вода, пар, масла, хладагенты |
| Температура рабочей среды (не более), °C | -10…+200. (при Pраб.≤ 0,9 MPa допускается +300С˚) |
| Герметичность затвора (класс) | «А» по ГОСТ Р 54808– 2011 |
| Климатическое исполнение | определяется материальным исполнением изделия |
