Условное давление | PN min 0,2 max 1.6 МПа |
Материал корпуса | Чугун с шаровидным графитом |


Вантузы предназначены для автоматического выпуска воздуха, скапливающего в повышенных точках водопровода, а также автоматического впуска воздуха при образовании вакуума в водопроводе.
- Номинальный диаметр: от 50 мм до 150 мм.
- Стандартное рабочее давление: PN min 0,2 max 1.6 МПа
- Рабочая температура до 90*С
- Область применения: вода
- Устанавливается в высшей точке трубопроводной систем
- Устанавливается только в вертикальном положении

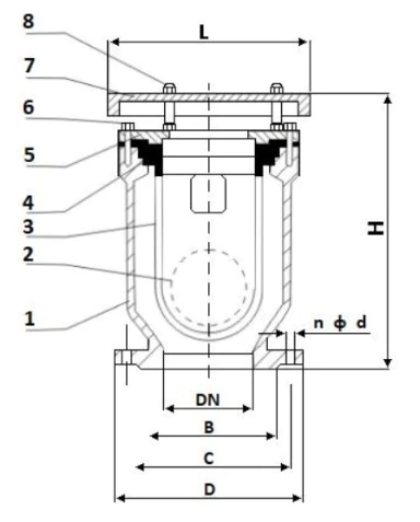
Спецификация
№ |
Элемент конструкции |
Материал |
1 |
Корпус |
Чугун с шаровидным графитом |
2 |
Шар |
Нержавеющая сталь |
3 |
Внутренняя часть корпуса |
Пластик |
4 |
Уплотнительная прокладка |
Резина NBR |
5 |
Крышка 1 |
Чугун |
6 |
Гайка/Болт |
Сталь |
7 |
Крышка 2 |
Сталь |
8 |
Болт/гайка |
Сталь |
Таблица размеров
DN |
L,mm |
D,mm |
С,mm |
Н,mm |
Болт |
|
Размер |
Кол-во |
|||||
50 |
175 |
165 |
125 |
145 |
М18 |
4 |
65 |
175 |
185 |
145 |
145 |
М18 |
4 |
80 |
175 |
200 |
160 |
165 |
М18 |
4 |
100 |
175 |
220 |
180 |
180 |
М18 |
8 |
150 |
175 |
285 |
240 |
220 |
М23 |
8 |
Условное давление | PN min 0,2 max 1.6 МПа |
Материал корпуса | Чугун с шаровидным графитом |
Материал изделия | Сталь, пластик, резина NBR, чугун |
Рабочая среда | вода |
Температура рабочей среды (не более), °C | 90 |




