Условное давление | Pn 10 (16) |
Хит продаж | Хит |


Клапан обратный шаровый используется в системах канализации, отопления, водоснабжения, а также других трубопроводах. Он препятствует передвижению жидкости в обратную сторону. Это может быть техническая или же питьевая вода, различные загрязненные стоки и прочие смеси.
- Номинальный диаметр: Ду 40 – 500 мм
- Стандартное рабочее давление: Pn 10 (16)
- Рабочая температура: -15 °С до +80 °С.
- Герметичность класс «А»
- Эпоксидно-полимерное покрытие толщиной не менее 250 мкм
- Полный проход
- Горизонтальная и вертикальная установка
- Быстросъёмные болты крышки для очищения или замены шара без демонтажа клапана с трубопровода
- Строительная длина по EN-558-1
- Самоочищающийся шар
- Бесшумность работы
- Минимальное давление открытия клапана 0,03 Мпа
- Низкое давление закрытия
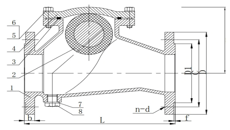
№ | ДЕТАЛЬ | МАТЕРИАЛ |
1 | Корпус | Чугун GGG40 |
2 | Шар | Чугун GGG40 +NBR |
3 | Прокладка крышки | NBR |
4 | Крышка | Чугун GGG40 |
5 | Болт | Нержавеющая сталь |
6 | Шайба | Нержавеющая сталь |
7 | Шайба | PTFE |
8 | Спускная пробка | Углеродистая сталь |

DN |
L |
D |
C |
D1 |
n-d |
b |
f |
H |
|||
PN10 |
PN16 |
PN10 |
PN16 |
||||||||
50 |
200 |
165 |
125 |
99 |
4-ø19 |
19 |
3 |
115 |
|||
65 |
240 |
185 |
145 |
118 |
4-ø19 |
19 |
3 |
124 |
|||
80 |
260 |
200 |
160 |
132 |
8-ø19 |
19 |
3 |
138 |
|||
100 |
300 |
220 |
180 |
156 |
8-ø19 |
19 |
3 |
162 |
|||
125 |
350 |
250 |
210 |
184 |
8-ø19 |
19 |
3 |
202 |
|||
150 |
400 |
285 |
240 |
211 |
8-ø19 |
19 |
3 |
228 |
|||
200 |
500 |
340 |
295 |
266 |
8-ø23 |
12-ø28 |
20 |
3 |
298 |
||
250 |
600 |
405 |
350 |
355 |
319 |
8-ø23 |
12-ø28 |
22 |
3 |
368 |
|
300 |
700 |
455 |
400 |
410 |
370 |
8-ø23 |
12-ø28 |
24.5 |
4 |
438 |
|
350 |
800 |
520 |
460 |
470 |
429 |
8-ø23 |
16-ø28 |
26.5 |
4 |
585 |
|
400 |
900 |
580 |
515 |
525 |
480 |
8-ø28 |
16-ø31 |
28 |
4 |
660 |
|
500 |
1000 |
715 |
620 |
650 |
582 |
609 |
8-ø28 |
20-ø34 |
31.5 |
4 |
800 |
Обратный клапан: описание, виды, где купить
Описание
Если устройство не пропускает воду, это означает, что его проход закрыт специальным шаром под воздействием специального пружинного механизма. Когда она воздействует на пружину , та сжимается и открывает отверстие для прохождения рабочей среды по трубе. Если давление в трубе падает, то пружина опять придавливает шар к отверстию, тем самым запирая узел и не давая жидкости идти в обратном направлении.
Шаровые клапаны обычно используют в трубопроводных системах многоэтажек, а также различных общественных зданиях. Благодаря им, удается избежать движения теплоносителя в другую сторону. Данные устройства предупреждают неисправность в работе насосов и не дают распространяться загрязненным водам.
Применение
Насосные станции для чистой, канализационной воды, загрязненных и вязких жидкостей.
Заключение
Купить фланцевый шаровой обратный клапан можно у нас. Особое внимание стоит обратить на два главных параметра: давление и диаметр прохода. Кроме того, стоит подбирать изделия под ваши требования. А сделать это проще всего у нас. Кроме того, цена на обратный шаровой клапан у нас очень приятная. По всем вопросам вы всегда можете обратиться к нашим специалистам.
Условное давление | Pn 10 (16) |
Хит продаж | Хит |
Материал корпуса | Чугун GGG40 |
Материал изделия | Чугун GGG40, NBR, PTFE, сталь |
Температура рабочей среды (не более), °C | -15 °С до +80 °С |
Герметичность затвора (класс) | класс «А» |




